常好丽格又一脂肪专利——辅助显微选脂分离装置获批
近日,隶属于联合丽格医学美容投资集团,以脂肪为主的面部综合抗衰院区——常好丽格医疗美容的脂肪专利又一获批。在国家知识产权局授予的实用新型专利权获批通知书中显示,该专利名称为“一种辅助显微选脂分离装置”,专利号为“ZL 202120182048.4”。又一脂肪专利的获批,代表着常好丽格脂肪学科的不断完善,保障脂肪技术的安全性与效果性,为求美者带来更多的变美机会。

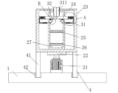
常好丽格选脂专利证书——一种辅助显微选脂分离装置
常好丽格选脂专利,提高了脂肪分离领域的技术,通过设置电机、转轴、分离盒、存放管、过滤网、制冷装置和隔板之间的相互配合,将脂肪倒入存放管内部时,经过电机转动,带动存放管进行旋转,采用离心力,将脂肪进行分离,再从过滤网落到隔板上,提高了脂肪分离的效率,在隔板下安装制冷装置,对脂肪进行制冷,进而延长了脂肪的存放时间。

据悉,这个选脂专利已经是常好丽格的第二个脂肪专利,这些普通常见的外科手术器械经过常好丽格专家的灵巧双手改良运用临床后,不仅能给求美者带来更加良好的术中体验,更能有效降低术后并发症,保障术后的远期效果。
众所周知,与人的生命质量息息相关的医疗领域,每取得一次小小的技术进步,都可能蕴藏着人类未来发展的巨大改变。尤其在被时代潮流和市场趋动赋予了众多意义标签的医疗美容行业,科技创新的重要性和回归医疗本质理念对于行业的健康化发展,更显得具有基础性的促进作用。
作为联合丽格连锁的面部抗衰院区,常好丽格以光电与脂肪抗衰为主,深谙科技实力是企业和专业医生发展的决定性因素,因此常好丽格众多专家共同为医疗美容事业付出贡献,始终将科技水平的提升作为自身提高的根本内在驱动力,通过不断自主创新和交流学习等方式,让众多新专利、新技术、新产品露出市面,为广大爱美人士带来安全、舒适和美丽。
