允许建设区和建设用地的区别—建设用地许可证什么意思
本文内容仅用于今日头条首发,请勿抄袭。
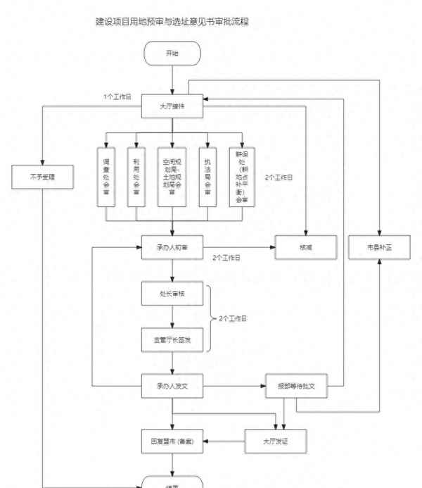
建设项目用地预审与选址意见书是建设单位在向有关部门申请批准或核准前,先向城乡规划主管部门申请核发的一种证明文件。其申请的依据包括《建设项目用地预审管理办法》、《中华人民共和国城乡规划法》和《中华人民共和国土地管理法实施条例》等法规文件。需要注意的是,不是所有的建设项目都需要申请选址意见书,仅涉及划拨国有土地使用权的项目才需要申请。 在办理层级方面,涉及占用永久基本农田、占用生态保护红线的重大建设项目,应向自然资源部提出用地预审申请,经审核通过后,由自然资源厅核发建设项目用地预审与选址意见书。

而对于不涉及占用永久基本农田的建设项目,如果属于国家级审批、核准、备案的项目,则由部授权的自然资源厅办理并核发建设项目用地预审与选址意见书。对于自治区级审批、核准的建设项目,包括涉及自然保护区和生态保护红线内允许有限人为活动的项目及公路、铁路、机场、矿山、水利项目等,由自治区自然资源厅办理并核发建设项目用地预审与选址意见书。03盟市、旗县级自然资源局办理项目的范围包括委托盟市自然资源局办理用地预审与选址意见书的项目以及审批、核准、备案建设项目的用地预审与选址意见书。
但是,国土空间规划确定的城市和村庄、集镇建设用地范围内、油气类“探采合一”和“探转采”钻井及其配套设施建设用地、具备直接出让采矿权条件且能够明确具体用地范围的采矿用地、露天煤矿接续用地以及水利水电项目涉及的淹没区用地则不需要办理用地预审与选址意见书。 需要重新办理用地预审与选址意见书的情形包括用地预审与选址意见书自批准后三年内,需要审批、核准、备案的建设项目未取得相应批复或手续、项目农用地转用和土地征收总面积超预审总面积达到10%及范围重合度低于80%、重大建设项目占用非永久基本农田地块以及土地用途发生重大调整等情况。
办理用地预审与选址意见书需要提供的要件材料包括申请书、规划许可证、用地预审条件及方案等相关材料。如何申请建设项目用地预审与选址意见书?申请人需提交申请表、建设单位申请报告、盟市自然资源局初审意见、项目建设依据、项目坐标表、国土空间总体规划安排表、各类审核意见、节约集约用地论证分析专章及违法用地材料等,办理时限为7个工作日。可以占用永久基本农田的建设项目范围包括国家规划明确支持的重大建设项目、军事国防类项目、省级公路网规划项目、国家重大项目清单等。申请人可通过蒙速办下载用地预审与选址意见书电子证照。如何申请先行用地?
申请先行用地是建设项目开工前必须办理的手续,下面是申请先行用地的具体步骤: 1.进入蒙速办官网,先进行实名认证,获取用户账号和密码。 2.在未注册过的情况下,点击右上角注册按钮,选择法人注册,按照要求填写相关信息完成注册。 3.注册成功后,返回蒙速办首页,选择法人登录,使用注册账号登录。 4.登录后,选择右上角的“用户中心”,进入界面。 5.在用户中心界面中,选择“我的信息—电子证照”,点击下载。 6.点击下载后,会弹出“实人授权”,用法定代表人的手机上的个人蒙速办APP扫描二维码完成授权后即可下载。
先行用地审批依据包括《中华人民共和国土地管理法》、《建设用地审查报批管理办法》、《国土资源部关于进一步改进建设用地审查报批工作提高审批效率有关问题的通知》、《国土资源部办公厅关于落实国家产业政策做好建设项目用地审查有关问题的通知》和《国土资源部办公厅关于应用建设用地远程报批系统改进用地审查报批工作有关问题的通知》。 申请先行用地的项目范围包括需报国务院批准用地的国家重大项目和省级高速公路项目,以及其控制工期的单体工程和因工期紧或受季节影响确需动工建设的其他工程。 先行用地申请规模原则上不得超过用地预审控制规模的30%。
申请先行用地的要件材料包括用地申请书、项目规划方案、环境影响评价文件等。在进行项目建设时,申请者需要提供一系列先行用地审批文件,以便获得审批通过。这些文件包括盟市自然资源局请示文件、建设项目用地预审与选址意见书批复文件、项目立项文件等。同时,申请者还需要提供有关部门确认项目建设和先行用地补偿安置情况的说明及承诺。 为了证明先行用地的合法性,申请者还需要提供嘎查(村)集体或国有单位同意先行用地的证明、建设单位或相关部门拨付先行用地补偿费的凭证及收款凭证等文件。此外,申请者还需要提供先行用地工程位置示意图和项目用地拐点坐标表等相关信息。
对于占用林地和自然保护区的项目,申请者还需要提供国家或自治区级林草主管部门出具的林地审核同意书或旗县级林草主管部门同意先行使用林地的意见,以及自治区林草部门出具的同意占用自然保护区的意见。 最后,先行用地审批的层级也需要申请者考虑。除东部五盟市需要向自治区自然资源厅申请外,其余项目则需要向自然资源部申请审批通过。
以上内容资料均来源于网络,本文作者无意针对,影射任何现实国家,政体,组织,种族,个人。本文作者就以上或相关所产生的任何问题任何概不负责,亦不承担任何直接与间接的法律责任。
